Products

Products

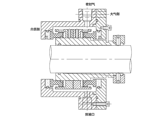
HQ2802

Product description

HQ2802-1.jpg

Please contact us for detailed dimensions

Contact immediately

Phone: 0573-84062810 84062820

Email: tlw@hqmf.com

Add:No.22 Yinxiu Road, Luoxing Street,Jiashan,Zhejiang,China (Mainland)

Chinese (Mainland)